나는 원래 하나은행에서 주택담보대출을 받고 있었다.
그러다가 최근 BNK경남은행 주택담보대출로 갈아탔다. 소위 말하는 대환대출을 한 것인데, 5년 고정금리 이후 6개월 변동금리로 적용되는 혼합금리 대출상품으로 갈아탔다. 금리는 4.2%이다.
하나은행에서는 6개월 변동금리로 받고 있었다.
그런데 괘씸한 게, 6개월이 지날 때마다 내 연봉이나 신용점수는 눈에 띄게 개선되었는데 하나은행은 계단식으로 금리를 올려나갔다. 그러다 6%대까지 올랐다.
심지어 우대금리 적용해준다는 명목으로 주택청약저축 10만 원, 적금 10만 원, 카드 100만 원.... 날강도가 따로 없다. 매월 나가는 대출원리금만으로도 내 가처분소득이 획기적으로 줄어드는데 저런 부대비용까지 요구하니 괴로웠다.
금리인하요구권을 모바일로도 해보고 창구 가서도 해봤는데, 유명무실. 메뉴만 만들어놓고 실질적으로 반영은 안 하는 것 같다.
그래서 하나은행 주택담보대출과 헤어질 결심을 하게 되었다.
대환대출 신청을 위한 사전조사
금융감독원에서 제공하는 '금융상품한눈에'라는 웹 서비스가 있다.
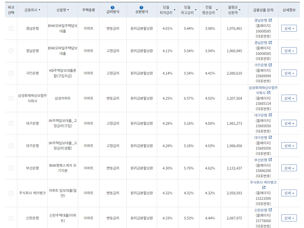
아래 그림처럼 시중 금융상품의 금리 정보를 한눈에 조회할 수 있는 서비스이다. '저축' 금리와 '대출' 금리 모두 확인 가능하다.

내가 원하는 주택담보대출 조건을 설정하고 검색하면, 아래와 같이 주택담보대출을 취급하는 시중 금융기관의 금리 정보가 조회된다. 나는 이 중에서 전월 평균금리가 저렴한 금융기관 몇 군데의 주담대를 비교해 보기로 했다.

당월 최저금리에는 편향이 있을 가능성이 높기 때문에, 평균금리를 기준으로 파악했다.
이 기준으로는 국민은행, 삼성화재, 부산은행 등은 제외된다. 최저금리는 낮지만 평균금리는 높은 편이기 때문이다.
최종적으로 BNK경남은행, 대구은행, 케이뱅크, 카카오뱅크에서 주택담보대출 대환대출 한도와 금리를 파악하기로 결정했다.
후보 은행별로 주담대 금리와 한도 조회
요즘에는 은행 앱으로 주택담보대출 금리와 한도는 쉽게 확인해볼 수 있다.
뿐만 아니라, 혼합금리 vs. 변동금리; 대출 기간 25년 vs. 30년 vs. 35년 vs. 40년 등 세세한 조건을 바꿔가면서 금리를 확인할 수 있어 정말 편했다.
이런 기능은 인터넷전문은행인 카뱅이나 케이뱅크뿐만 아니라 대구은행, 경남은행 앱도 제공하고 있다.
아래는 경남은행과 카카오뱅크, 케이뱅크의 앱 조회 결과이다. 대구은행은 4.6% 정도의 금리가 나와서 후보에서 제외했다.



경남은행과 케이뱅크는 자사 카드 발급 받아서 매달 얼마 이상 써야 한다거나, 예적금 상품 가입해서 얼마씩 불입해야 한다는 등의 우대금리 조건을 내걸고 있다.
카카오뱅크는 그런 게 없다. 카카오뱅크가 4.50%, 케이뱅크가 4.43% 금리임에도 카카오뱅크를 더 높은 우선순위에 둔 것은 그런 이유이다.
케이뱅크 적금에 매달 10만 원 이상씩 납입해야 한다면 낮은 금리에서 오는 가처분소득 상승 효과는 그만큼 상쇄되는 것이기 때문이다. (적금이 만기가 되면 내 주머니에 들어온다고 하지만 10만 원을 다른 금융상품에 투자하는 게 수익률이 더 클 것이란 판단)
이 정도 금리라면 하나은행 '중도상환수수료'까지 고려해도 갈아타는 게 백 번 유리할 거란 판단에, 대환대출을 진행하기로 마음 먹었다.
주담대 대환대출 신청
결국 BNK경남은행과 카카오뱅크 두 군데에 대출 신청을 넣었다.
두 은행 모두 같은 날 신청했는데 당시에 가장 빠른 대출 실행일은 약 2주 뒤의 날짜였다.
본격적인 심사를 위해 경남은행과 카카오뱅크에 제출한 서류는 아래와 같다.
- 재직증명서
- 월별급여명세서(혹은 감종근로소득에대한소득세원천징수증명서(소위, 갑근세)
- 급여통장입금내역서
- 등기필증
서류를 사진으로 찍어서 앱에 첨부하면 되기 때문에 무척 편했다.
다만 나의 경우 아내가 세대원이기 때문에 세대원 동의 요청을 아내에게 발송하고 아내가 동의를 수행해야 했는데, 카카오뱅크의 세대원 동의는 무척 쉽게 진행이 되었지만, BNK경남은행 건을 처리할 때는 고생을 좀 했다.
고생의 원인은 세 가지였는데,
- 경남은행 앱을 설치하고 계좌개설까지 해야 했다. 세대원 동의에 이런 절차가 왜 필요한지는 모르겠지만 번거로웠다.
- 이 과정에서 본인 인증이 필요했는데, 요즘 같은 세상에 경남은행은 금융인증서나 사설인증서를 인정하지 않고, 공인인증서를 요구했다. 로컬드라이브에 설치하는 그 옛날의 공인인증서 말이다.
- 위의 절차를 다 수행했음에도 불구하고 별다른 설명 없이 계속 에러가 발생했다. 에러 메시지가 부실하니 문제 해결을 할 수 없었는데 알고 보니 홈택스에도 경남은행에 등록한 인증서를 동일하게 등록해야 했다. 아니 안내를 안 해주면 그걸 어떻게 아냐고.
다행히 문제가 발생할 때마다 BNK경남은행의 해당 부서에서 전화로 친절하게 알려줬다. 홈택스에 동일한 인증서가 등록되어야 한다는 사실도 전화로 직원이 먼저 알려줬다.
여튼 심사에 필요한 모든 절차를 마친 후 보다 정확한 금리와 한도가 나왔다.
결과는 경남은행이 4.22%, 카카오뱅크는 4.52%. 앱 조회 결과와 비교하면 두 은행 모두 약 0.02%p 정도 높게 나왔다.
앱을 통해 조회한 결과를 구글시트(Google sheets)에 정리해두고 매월 납입하게 될 금액을 비교했다.

하나은행 주택담보대출을 유지하면 월에 260만 원 정도를 내야 한다. 우대금리를 적용받기 위해 내야 하는 청약저축과 적금 납입금을 포함한 수치다.
반면 카카오뱅크는 195만 원 정도를 낸다. 경남은행은 188만 원 정도를 내야 한다.
카카오뱅크는 우대금리를 적용하기 위해 나에게 요구하는 게 없다. 참 매력적인 부분이다.
BNK경남은행은 우대금리를 적용하기 위해 급여이체, BNK경남은행 카드 실적 100만 원, 요구불예금 3개월 평잔 100만 원 등을 요구한다.
대출 실행
최종적으로는 BNK경남은행을 선택했다.
미증유의 횡령사건이 벌어진 은행이라 찝찝했지만, 그렇다고 카카오를 선택하면 만기까지 나는 3천만 원을 이자로만 더 내야 한다.
아내와 공동명의이긴 하지만 와이프의 소득을 합산하는 것은 아니었기 때문에 아내가 서류 준비할 건 크게 없었다. 아내 명의의 등기필증만 사진으로 찍어 보냈다.
경남은행 제휴 법무사가 대출 상환과 등기 관련 업무를 대리해줄 것이라 내가 별도로 해야 할 것(은행을 방문한다든가)은 아무것도 없었다.
대출 실행일 전날
하나은행 콜센터에 전화해서 대출 실행일 기준으로 내가 상환해야 하는 총금액을 확인했다.
여기에는 대출원금 + 이자 +중도상환수수료가 포함된다.
문자로 발송해달라고 한 뒤 그 문자를 그대로 법무사에게 발송했다. 동시에 기존 대출 은행의 근저당말소비용 4만원도 법무사에게 입금했다.
대출 실행일 당일
역시 내가 할 일은 없다.
인지세와 근저당 설정에 따른 국민주택채권 매도비만 법무사에게 입금하면 몇 분 후에 기존 대출 은행에서는 "근저당권 말소신청이 완료되었다"는 문자가, 새로 대출을 실행한 은행에서는 "대출 처리가 완료되었다"는 문자가 온다.
대출 부대비용(거래비용)
대환대출 실행일에 이런저런 비용을 계속 입금해달라고 하는데, 이런 부대비용을 미리 고려하지 않았다면 낭패를 볼 수 있다. 그러니까 갈아타기의 득실을 따지려면
대출원금 + 이자 +중도상환수수료 + 이런저런 부대 비용까지 미리 고려해야 한다는 거다.
우리은행 사이트에 대출 거래에 수반되는 비용들을 잘 정리해놨다.

나 같은 경우 근저당권말소비용은 4만 원이 들었다.
인지세는, 대출액이 4억이니 15만 원 구간인데 이것을 경남은행과 내가 반반씩 부담한다. 7만 5천 원.
마지막으로 큰 돈이 나가는 게 국민주택채권매입 비용. 이건 좀 어려운 개념이다.
내 경우 이 국민주택채권을 은행에 매도하기 위해 약 71만 원을 대출 실행일에 지불했다.
국민주택채권
국민주택채권은 주택도시기금법 등에 따라 주택을 매수해 소유권을 등기하거나 대출 대환을 위해 주택에 설정된 저당권을 이전할 때 의무적으로 구매해야 하는 채권이다.
채권 가격도 법으로 정해져있다. 저당권 설정액의 1%. 여기서 저당권 설정액은 보통 대출원금의 110% ~ 150%로 설정한다. 다행히 경남은행은 이걸 110%로 설정했다.
그러니까 나의 경우 대출원금인 4.15억의 110%인 4.57억이 저당권 설정액이었고 여기의 1%인 457만 원이 국민주택채권의 액면가가 된다.
이 채권을 내가 매입해도 된다. 국민주택채권은 발행이율 1.3%의 만기 5년 상품이다. 채권을 매입해 5년간 보유해도 되지만, 시중은행 예금금리와 비교해 턱없이 낮은 이율 때문에 통상 매입 즉시 매도한다. 현금 여유가 없어 대출을 받는 상황에서 수백만 원을 5년이나 묶어둬야 하는데 이율까지 낮기 때문이다.
그러나 은행이 이 채권을 살 때 액면가 그대로 사지 않는다는 게 문제다.
은행은 이 채권의 가치를 액면가인 457만 원으로 보지 않는다. 액면가보다 훨씬 낮게 책정하는데 은행이 이 채권의 가치(시장가치)를 산정할 때(=가치를 떨어뜨릴 때) 적용하는 할인율이 있다. 2023년 현재 약 12% 정도나 하는 것 같다.
정리하면, 국민주택채권의 액면가치 457만 원은 이 채권의 시장가치보다 훨씬 큰 금액이다. 이 때문에 은행이 이 채권을 457만 원(액면가)에 매입할 때 우리가 은행에 돈을 줘서 은행의 실제 매입가를 떨어뜨리는 것이다. 은행이 실제 지불하는 돈이 이 채권의 시장가치에 근접하도록.
이 금액이 나의 경우 71만 원이었던 거다.
결국 은행은 나에게 71만 원을 지원받아 386만원에, 액면가 457만 원 / 발행이율 1.3% / 만기 5년짜리 채권을 구매한 셈이다. 그러니까 은행은 주담대 이자를 받는 것 외에도 이런 식으로 돈을 버는 것이다.
71만 원 내는 게 싫으면, 내가 457만 원 내가 국민주택채권 매입해서 보유하면 된다.
참고로 국민주택채권 즉각 매도에 따른 내 부담금은 주택도시기금 홈페이지에서 미리 확인할 수 있다.


주택담보대출 갈아타기를 시도하면서 알아야 될 내용을 얼추 다 정리한 것 같다.
마지막으로 아래에 요점만 정리했으니 꼭 확인하고 가시길.
요점 정리
1. 금융감독원의 '금융상품한눈에' 서비스를 활용한 사전조사:
- '금융상품한눈에' 서비스를 통해 시중 금융상품의 금리 정보를 한눈에 확인할 수 있다.
- 주택담보대출 조건을 설정하고 검색하여 여러 은행의 주택담보대출 정보를 비교하였다.
2. 은행 앱을 활용한 주담대 대환대출 후보 선정과 비교:
- 은행 앱을 통해 주택담보대출 금리와 한도를 쉽게 확인하며 후보 은행을 선택하였다.
- 여러 은행 앱을 통해 금리, 조건 등을 비교하여 BNK경남은행을 최종 선택하였다.
3. 대출 실행 및 부대비용 고려:
- BNK경남은행을 선택한 후 대출 실행에 필요한 서류를 제출하였다.
- 대출 실행에 따른 부대비용(인지세, 국민주택채권 즉시 매도 비용 등)을 고려하고 미리 확인하였다.
- 최종적으로 대출 실행일에 은행에서 필요한 모든 절차를 마치고 대출을 성공적으로 실행하였다.
'재테크 정보' 카테고리의 다른 글
| 편의점에서 산 유심으로 알뜰 통신사 개통하기(feat. 쓱(SSG)유심으로 번호이동) (2) | 2023.11.25 |
|---|---|
| 달러(외환) 투자 실전 | 저렴하게 환전하기(feat. 키움증권에 은행 외화계좌 연결) (1) | 2023.11.12 |
| 옥수동 부동산 임장 일기 | 옥수역-금호역 전세 살기 어떨까? (2) | 2023.08.26 |
| 곧 상장하는 공모주 수익률 예측 방법과 실제 적용 결과 (1) | 2023.08.25 |
| [경제일기1] 한국 기준금리는 올라갈까 내려갈까? (2) | 2023.08.04 |
댓글